近日,索尼公布了一项针对自有PSSR(PlayStation缩放技术)的突破性专利,该专利可解决PSSR技术现存的关键问题,有望彻底消除游戏中的帧率下降(FPS drops)和内部分辨率降低现象。
无论玩家是否接受,图像缩放技术(upscalers)已成为3A游戏实现出色视觉效果和性能表现的关键软件解决方案。索尼一直处于该领域的领先地位,不仅合作研发FSR 4技术,其自主研发的PSSR技术也在不断推进。

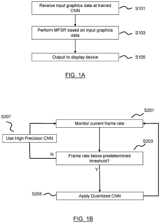
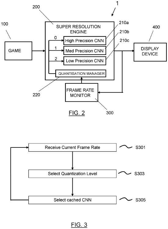
此次曝光的新专利为PSSR缩放技术设计了开创性的MFSR(元缩放超分辨率)方案,重点解决了该技术的核心痛点。在游戏高负载场景下,PSSR技术往往不得不做出明显妥协,比如降低内部分辨率或出现帧率下降,这会严重影响玩家体验。索尼希望通过实时量化技术,避免这些妥协情况的发生。

根据专利描述,当游戏帧率下降时,PSSR技术会动态降低卷积神经网络(CNN)精度,且对游戏体验的影响极小,一旦性能稳定,便会恢复全精度运行。专利中提到:“通过降低模型权重和/或激活函数的精度,可以降低人工神经网络(ANN)推理的准确性。但为了给用户提供稳定的游戏体验(如流畅的视觉动画和稳定的分辨率),这种精度降低是可接受的。”
这项技术的意义在于,在显卡高负载时,通过避免动态内部分辨率和帧率下降的弊端,缩放技术可以减少甚至消除视觉伪影和其他性能异常,让玩家获得更自然的游戏体验。

这项名为“图形处理”(GRAPHICS PROCESSING)的专利指出,开发者无需再为提升缩放技术性能而降低游戏内部分辨率。当显卡负载激增时,实时量化技术只需降低CNN权重精度即可。通过动态减轻人工智能工作负载,游戏可以实现更高的内部分辨率和更稳定的帧率。

索尼表示,目前的MFSR缩放技术在高负载场景下会影响帧率和视觉质量,在快节奏游戏中这一问题尤为突出。“当应用程序或游戏处于高负载状态时,MFSR图形输出的帧率会受到影响,进而降低用户的体验质量,这在快节奏游戏中尤为棘手。”
升级后的PSSR技术可根据显卡负载和性能下降情况,在不同的CNN精度之间切换。这一改进将使PSSR成为同类技术中的有力竞争者,因为目前主流的缩放技术均不依赖实时量化,而是采用预训练的固定精度模型。

据悉,索尼此前还申请过多项独特专利,例如通过资产流式传输将100GB大小的3A游戏压缩至约100MB的技术,以及一款可为玩家创建个性化播客的生成式人工智能系统。
对于索尼这项PSSR新技术专利,你有什么看法?快来评论区分享你的观点,和其他玩家一起讨论吧!
上一篇:物华弥新 太阳神鸟介绍